地 址:上海市奉贤区四团镇平福路1036号
电 话:13524268996
网 址:www.shtckj.com
邮 箱:13775715680@139.com
表面热电偶
概述
在许多场合下,按工艺要求需作现场流动测温,WREM、WRNM系列表面热电偶是按上述工艺要求设计的产品,本系列探头专供测量各种形状的固体介质表面温度,以及测量液体、气体和橡胶内部的温度,使用范围很广,不受物体表面形状限制,外形轻巧,携带方便,特别是加工现场尤为适用,被广泛应用在纺织、印染、造纸、塑料、橡胶等工业部门。
WREM、WRNM系列表面热电偶分手柄式和直柄式二种手杆,有七种形状探头,可根据被测物品不同形状和需要分别选择。
热电偶探头采用镍铬-镍硅、镍铬-铜镍材料作感温元件,分度号为E型和K型,热响应时间 τ0.5小于10秒。
型号、规格和用途
WREM、WRNM-101A型手柄式圆柱表面热电偶
101型探头顶端部装有两对滚珠轴承,以减小带状测温元件与被测物体的磨擦。
探头适用测量各种直径130毫米以上光滑金属体、橡胶、塑料等圆柱体和滚筒表面及外壁的温度、被测物体动态时的线速度小于100米/分。元件与外壳间的绝缘电阻不小于20MΩ(500V直流),测温范围:0~600℃。

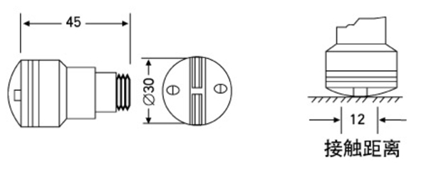
WREM、WRNM-102A型手柄式平面表面热电偶
102A型探头端部装有凸起的圆柱体、以限制被测物体与带状测温元件间接触距离,防止损坏测温元件。
探头适合测量铸模、平面、墙面、玻璃器皿、模具、轴承以及其它静止的固体表面温度。元件与外壳间的绝缘电阻不小于20MΩ(500V直流),测温范围:0~600℃。
注: 连续使用时间: 400℃以上,连续使用1分钟
400℃以下,连续使用3分钟。

WREM、WRNM-201A型直柄式圆柱表面热电偶
201型探头端部装有两对滚珠轴承,以减小带状测温元件与被测物体磨擦。
探头适用测量各种直径130毫米以上的光滑金属体、橡胶、塑料等圆柱体和滚筒表面外壁的温度,被测物体动态时的线速度小于100米/分。元件与外壳间的绝缘电阻不小于20MΩ(500V直流),测温范围0~600℃。
注: 连续使用时间: 400℃以上,连续使用1分钟。
400℃以下,连续使用3分钟。

WREM、WRNM-202A型直柄式平面表面热电偶
202A型探头端部装有凸起的圆柱体,以限制被测物体与带状测温元件间的接触距离,防止损坏测温元件。
探头适合测量铸模、平面、墙面、玻璃器皿、模具、轴承以及其它静止的固体表面温度。元件与外壳间的绝缘电阻不小于20MΩ(500V直流),测温范围0~600℃。
注: 连续使用时间: 400℃以上,连续使用1分钟。
400℃以下,连续使用3分钟。

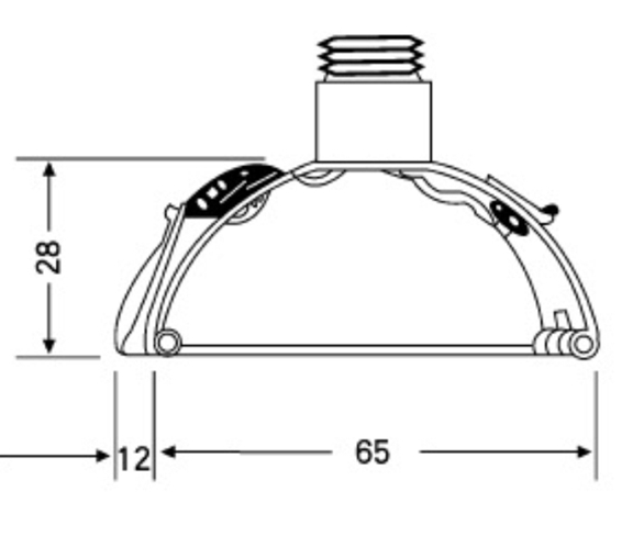
WREM、WRNM-203A型直柄式、弓形表面热电偶
203A型端部带有弓状的探头,专供测量滚轴、管道、圆柱体、凸缘和极其弯曲的物体表面温度。元件和金属弓架间的绝缘电阻不小于5MΩ(100V直流),测温范围0~250℃。

WREM、WRNM-204A型直柄式指针形热电偶
204A型探头的保护管用不锈钢制成,具有很高的耐腐蚀性能,因此,适合测量空气、气流、蒸汽、液体等流动物质的内部温度。探头为接壳式,所以热响应时间非常快。
★ 规格: 直径2毫米探头长度有50、100mm两种;
直径3毫米探头长度有75、125、175mm三种;
直径4毫米探头长度有250、350mm两种。
★ 测温范围:0~600℃。
WREM、WRNM-205A型直柄式薄片型表面热电偶
205A型探头呈薄片状,厚度仅1毫米左右,因此适合通过狭小的缝隙,它可用来测量模具,轴承以及机械设备的狭缝处表面温度,如用于涤纶长丝牵伸机狭缝测温。元件与外壳的绝缘电阻不小于50Ω(100V直流)。
规格:WRENM-205A-1 L=40.5mm;
WRENM-205A-2 L=90.5mm;
WRENM-205A-3 L=104.5mm。
测温范围:0~250℃。
[上一个: 电站测温用热电偶、热电阻]
[下一个: 表面铂电阻]







