地 址:上海市奉贤区四团镇平福路1036号
电 话:13524268996
网 址:www.shtckj.com
邮 箱:13775715680@139.com
HH系列楔形流量计
概述
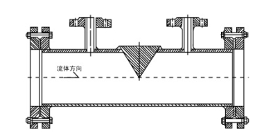
HH楔形流量计是八十年代开始逐步走向实用的一种新型流量计,其检测件是一个V字形楔块(又称楔形节流件),它的圆滑顶角朝下,这样有利于含悬浮颗粒的液体或粘稠液体顺利通过,不会在节流件上游侧产生直流。因此特别适用在石油、化工等行业中用于体积流量和质量流量的测量。

工作原理
HH楔形流量计由楔形流量装置和差压变送器组成。当介质流过楔形节流件时,在节流件前后产生差压,对于任何流体,在很宽的流量范围内,甚至雷诺数低至300,流量与差压的平方根成比例关系;差压变送器将来自流量装置的差压值转换成4~20mA的标准输出或流量显示值
性能特点
- 可用于粘滞性液体的流量测量,粘度可高达500MPa*S,如燃油,渣油及重油等;
- 适用于含悬浮颗粒的液固混合物,如浆状流体,污水等的流量测量;
- 混相流型楔形流量计可用于泥浆,煤水悬浮液,煤焦油,悬浊液等液固两相流(如图二);
- 雷诺数使用范围宽广,可适用于极低的雷诺数(ReD=300),而雷诺数上限可达10²*³以上,因此亦可用于气体,蒸汽之类的流体的流量测量(如图二);
- 差压信号稳定可靠,测量精度高,重复性好,压力损失低。
- 整体结构形式无可动部件,使用寿命长。
- 安装方便,免于维护。
- 双向流量测量。
- 具有最小的直管段要求:上游5倍管道直径,下游2倍管道直径。
技术参数
项目 |
指标 |
雷诺数 |
>300 |
准确度 |
±0.5%,±1%,±3% |
重复性误差 |
0.2% |
测量口径 |
1∕2"(DN15)~24"(DN600) |
量程比 |
10:1 |
介质温度 |
(-20~150)℃ |
过程连接 |
法兰连接 |
压力等级 |
ANSI 150LB,300LB,600LB PN16,PN25,PN40,PN63,PN100 |
取压口 |
法兰式,螺纹式 |
材质 |
碳钢,不锈钢,哈氏合金等 |
测量方向 |
正∕反向测量 |
典型应用:在炼焦、炼油、化工等企业中的焦油、沥青、残渣油、石蜡油、易结晶油等各种低流速,高粘度液体介质的流量测量
安装注意事项
水平管道测液体,取压口最佳位置0~180°,差压变送器垂直安装在三阀组的垂直端面上。水平管道测量气体时,取压口最佳位置270°,变压变送器水平安装在三阀组顶水平面上。垂直管道测液体,差压变送器安装在垂直管道低端取压口一侧,且垂直安装在低于取压口的三阀组板垂直端面。流体必须自下而上垂直管道测气体,差压变送器安装在垂直管道高端取压口一侧,且水平安装在高于取压口的三阀组板水平面上。对流体流向没有要求。原则:气体测量中导压管路、三阀组管路和差压变送器正负压侧容室不能有液体。液体测量中,导压管路、三阀组管路和差压变送器正负压侧容室不能有气体积存。
[上一个: HH平衡流量计]
[下一个: HH系列德尔塔巴流量计]







